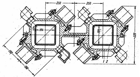
Кристаллизатор МНЛЗ представляет собой водоохлаждаемую изложницу, внутренняя поверхность которой подвержена истирающему воздействию движущегося кристаллизующегося слитка стали. Кристаллизатор является наиболее важным узлом МНЛЗ. Он обеспечивает быстрое образование достаточно толстой прочной «корочки» на поверхности непрерывнолитой заготовки. На рис.1 показана конструкция кристаллизатора двухручьевой сортовой МНЛЗ, а на рис.2 — одноручьевой слябовой МНЛЗ.

Рис.1 Поперечный разрез кристаллизатора для одновременной отливки двух слитков квадратного сечения

Рис.2 Составной толстостенный кристаллизатор для отливки слябов
1 — стальной каркас; 2 — медные стенки; 3 — каналы для охлаждающей воды
Внутренняя (рабочая) полость кристаллизатора МНЛЗ собирается из четырех основных деталей (стенок), каждая из которых состоит из высокотеплопроводной медной (2) и опорной (стальной или чугунной) пластины (1), соединенных между собой шпильками. Толщина медной пластины со строганной контактной поверхностью не превышает 20 мм. Медные или стальные пластины имеют каналы для протока охлаждающей воды. Стенки кристаллизатора монтируются в прочном корпусе. Длина кристаллизатора МНЛЗ составляет (500…1500) мм для обеспечения образования «корочки» толщиною (8…25) мм на поверхности заготовки при выходе из кристаллизатора. Внутренняя строганная (или волнистая) поверхность, смазка и непрерывные вертикальные возвратно — поступательные перемещения кристаллизатора при разливке стали предохраняют поверхность заготовки от образования дефектов (продольных трещин).
Соотношение скоростей качания кристаллизатора: скорость движения вверх на 70% выше скорости движения вниз. Шаг качания — (10…40) мм, частота — (10…100) циклов в минуту.
На рис.3 показана конструкция кристаллизатора МНЛЗ для отливки слябов (слитков плоского сечения).

Рис.3 Кристаллизатор МНЛЗ для отливки плоских слитков
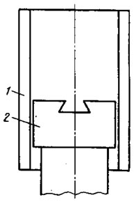
Нижняя полость кристаллизатора МНЛЗ плотно закрывается «затравкой» рис.4.

Рис.4 Схема установки “затравки” в кристаллизатор МНЛЗ.
1 – кристаллизатор;2 – «затравка»
Жидкая сталь, кристаллизуясь, приваривается к «затравке» и разъединение «затравки» с заготовкой осуществляется на начальном участке тянуще-правильной клети. Затем «затравка» вновь готовиться к работе по обычной технологии.
— Регулярная проверка качества ссылок по более чем 100 показателям и ежедневный пересчет показателей качества проекта.
— Все известные форматы ссылок: арендные ссылки, вечные ссылки, публикации (упоминания, мнения, отзывы, статьи, пресс-релизы).
— SeoHammer покажет, где рост или падение, а также запросы, на которые нужно обратить внимание.
SeoHammer еще предоставляет технологию Буст, она ускоряет продвижение в десятки раз, а первые результаты появляются уже в течение первых 7 дней. Зарегистрироваться и Начать продвижение
Охлаждение кристаллизатора МНЛЗ (система первичного охлаждения разливаемого металла) производиться водой: подвод воды снизу, скорость не менее 5 м/с, температура на сливе не выше 500°С, расход (100…120) м³/час на 1 м размера полости внутреннего диаметра кристаллизатора. Стойкость толстостенного кристаллизатора — (20…45) тыс. т. стали или до 85 плавок.
Допустимый износ медной пластины по толщине — 1 мм. Расход меди – (0,09…0,15) кг/т стали.




